other
热门产品
  • YJV-0.6/1KV 4X185mm²
    YJV-0.6/1KV 4X185mm²

    YJV-0.6/1KV 4X185mm²

    查看详细
  • 信号电缆,计算机电缆,控制电缆,电力电缆,动力电缆
    信号电缆,计算机电缆,控制电缆,电力电缆,动力电缆

    本产品适用于高温、低温和酸、碱、油、水以及有腐蚀气体的环境中作电器仪表和自动化控制系统的信号传输线。 广泛用于石油、冶金、电力、石化等企业。

    查看详细
  • YJV22 3×120 8.7/15KV高压电缆 10-35KV
    YJV22 3×120 8.7/15KV高压电缆 10-35KV

    交联聚乙烯绝缘电缆适用于配电网、 工业装置成其它需要大容量用电领域, 用于固定敷设在交流5 0 H Z ,额定电压 1 k v 电力输配电线路上,主要功能是输送电能。本厂生产的额定电压1 k v - 3 5 k V 交 联聚乙烯绝缘电力电缆,其性能完全符合标准G B 1 2 7 0 6 和 I E C 6 0 5 0 2 及 I E C 6 0 8 4 0 , 并且已形成系列,即阻燃型的,耐寒型的和防水型的电力电缆。在阻燃型系列产品中,成功地

    查看详细
  • 高压电缆 ZR-YJV22 26/35KV 3×400
    高压电缆 ZR-YJV22 26/35KV 3×400

    1、电缆的额定电压:U0/U=26/35KV(Um=40.5KV) 2、电缆导体的高工作温度为90℃ 3、短路时(长持续时间不超过5S),电缆导体高温度不超过250℃ 4、对于正确安装敷设的电缆,正常运行条件下,其运行寿命至少为30年以上 5、电缆的敷设温度不低于0℃ 6、电缆的较小弯曲半径:三芯电缆不小于电缆外径的15倍;单芯电缆不小于电缆外径的20倍

    查看详细
  • WDZA-YJY-3×240+1×120低压电缆 0.6/1KV
    WDZA-YJY-3×240+1×120低压电缆 0.6/1KV

    交联聚乙烯绝缘电缆适用于配电网、 工业装置成其它需要大容量用电领域, 用于固定敷设在交流5 0 H Z ,额定电压 1 k v 电力输配电线路上,主要功能是输送电能。本厂生产的额定电压1 k v - 3 5 k V 交 联聚乙烯绝缘电力电缆,其性能完全符合标准G B 1 2 7 0 6 和 I E C 6 0 5 0 2 及 I E C 6 0 8 4 0 , 并且已形成系列,即阻燃型的,耐寒型的和防水型的电力电缆。在阻燃型系列产品中,成功地

    查看详细

矿用隔爆型低压电缆接线盒「10kv电缆中间接头防爆盒」

日期:2023-03-17 人气:8

煤安认证是煤矿安全认证的简称。2007年国家经贸委和煤矿安全监察局发布了《煤矿矿用产品安全标志暂行办法》等文件,对井工煤矿用设备、仪器、仪表等设施实行安全生产认证制度,有效地遏制了伪劣产品进入井下。在煤安认证产品目录中的产品都应做煤安认证,获取证书,方可在市场中销售、使用。

矿用隔爆型低压电缆接线盒「10kv电缆中间接头防爆盒」


一、矿用产品进行煤安认证目录

1、隔爆型电气产品

1.01-矿用高压配电装置

1.02-矿用隔爆型低压交流电磁起动器

1.03-矿用防爆型高压交流真空电磁起动器

1.04-矿用低压交流软起动器

1.05-矿用隔爆型高压交流软起动器

1.06-矿用隔爆型馈电开关

1.07-矿用隔爆兼本质安全型组合起动器(矿用隔爆型组合开关)

1.08-矿用隔爆型煤电钻变压器(照明变压器)综合保护装置

1.09-矿用隔爆型检漏继电器

1.10-隔爆兼本质安全型电控箱

1.11-矿用干式变压器、移动变电站

1.12-矿用隔爆型移动变电站用高压负荷开关

1.13-矿用隔爆型低压三相异步电动机

1.14-矿用隔爆型高压三相异步电动机

1.15-隔爆型开关磁阻电动机

1.16-隔爆型直流牵引电动机

1.17-防爆发电机

1.18-矿用防爆变频器

1.19-矿用隔爆型充电机

1.20-矿用隔爆型电铃

1.21-矿用隔爆型控制按钮

1.22-煤矿用隔爆型高、低压电缆接线盒

1.23-煤矿用隔爆型低压插销

1.24-矿用隔爆型电缆连接器

1.25-煤矿用防爆激光指向仪

1.26-矿用隔爆型电度表箱

1.27-矿用隔爆摄(照)相机

1.28-矿用防爆电磁阀

1.29-矿用隔爆型硫化机

1.30-煤矿用隔爆型小型开关电器

1.31-工矿电机车用司机控制器

1.32-工矿电机车主电路电阻器

1.33-煤电钻

1.34-矿用隔爆型灯具

1.35-潜水电泵

1.36-防爆柴油机

1.37-煤矿用发爆器

1.38-煤矿铅酸蓄电池防爆特殊型电源装置

1.39-潜水泵用隔爆型三相异步电动机

1.40-光控自动喷雾洒水装置(主机)

1.41-声控自动喷雾洒水装置(主机)

1.42-触控自动喷雾洒水装置(主机)

1.43-联动喷雾洒水装置

2、本质安全型电气产品

2.01-甲烷传感器

2.02-一氧化碳测定器(含报警仪)

2.03-便携式热催化甲烷检测报警仪

2.04-氧气测定器

2.05-一氧化碳传感器

2.06-氧气传感器

2.07-光干涉甲烷测定器

2.08-差压传感器

2.09-风速传感器

2.10-风速测量仪表

2.11-温度传感器

2.12-烟雾传感器

2.13-速度传感器

2.14-设备开停传感器

2.15-甲烷催化元件

2.16-甲烷断电仪

2.17-风电甲烷闭锁装置

2.18-光控传感器

2.19-声控传感器

2.20-触控传感器

2.21-粉尘浓度传感器

2.22-粉尘采样器(含个体粉尘采样器)

2.23-直读式粉尘浓度测量仪表

2.24-流量测量仪表(含流量传感器)

2.25-矿井环境监测用传感器(含监测仪)

2.26-矿用携带型气体测定仪器

2.27-矿用硫化氢测定器(含传感器)

2.28-矿用二氧化碳测定器(含传感器)

2.29-瓦斯抽放测定(监测)仪

2.30-矿用胶带跑偏传感器、机械式煤位传感器、馈电传感器、煤矿井下紧急停闭锁开关、矿用纵向撕裂传感器、矿用风门开闭状态传感器

3、煤矿监控系统产品

3.01-煤矿安全监控系统

3.02-矿用人员管理系统

3.03-煤矿供电(电力)监控系统

3.04-矿用轨道运输监控系统

3.05-矿用胶带运输监控系统

3.06-矿山压力监控系统

3.07-矿井工业电视系统

3.08-矿用信息传输接口

3.09-矿用分站

3.10-矿用信号转换器

3.11-矿用本质安全输出直流电源

3.12-矿用断电控制器

3.13-矿用网络交换机

3.14-煤矿用带式输送机保护装置

3.15-煤矿用带式输送机保护装置主机

3.16-矿用光端机

3.17-煤矿地面立井提升机综合后备保护装置

3.18-煤矿井口操车装置

3.19-矿用摄像仪

3.20-矿用本质安全型压接式电缆接、分线盒

3.21-煤矿用直流电源变换器

3.22-矿用自动排水装置

4、煤矿通信系统产品

4.01-煤矿通信系统

4.02-煤矿提升信号装置

4.03-煤矿提升信号装置信号机

4.04-煤矿载波通信控制装置

4.05-煤矿通信、控制装置

4.06-煤矿用本质安全型无线手机

4.07-煤矿用无线通信基站

4.08-煤矿用生产调度自动交换电话总机

4.09-煤矿用本质安全型共电、自动电话机

4.10-煤矿生产调度电话用安全耦合器

4.11-读卡(识别)分站

4.12-标识卡(识别卡)

4.13-煤矿信号设备

5、矿灯

6、煤矿用特殊型铅酸蓄电池

矿用机械产品

1.01-矿用一般型司机控制器

1.02-矿用一般型斩波调速器

1.03-矿用一般型电阻器

1.04-矿用一般型架线机车硅整流器

1.05-矿用一般型直流逆变电源

1.06-矿用一般型直流架线自动停送电开关

1.07-矿用一般型司控道岔控制装置

1.08-矿用一般型语言声光报警信号器

1.09-矿用一般型电机车用牵引变频器

1.10-矿用一般型交流异步牵引电动机

1.11-矿用一般型直流牵引电动机

1.12-矿用一般型接近开关

1.13-矿用一般型灯具

1.14-矿用一般型架线电机车通讯机车载波电话机

一、矿用泵类

1.01-离心泵

1.02-煤层注水泵(斜盘式)

1.03-往复式泵(泥浆泵、注浆泵、注水泵、喷雾泵、灰浆泵)

1.04-风动潜水泵

1.05-矿用气动注浆泵

1.06-煤矿用螺杆式泵

1.07-封孔泵(螺杆式)

二、采掘类

2.01-掘进机

2.02-连续采煤机

2.03-滚筒采煤机

2.04-螺旋钻进式采煤机

2.05-刨煤机

2.06-采煤机螺旋滚筒

2.07-截煤机

三、提升类

3.01-单绳缠绕式矿用提升机

3.02-JTK型矿用提升绞车

3.03-JTP型矿用提升绞车

3.04-多绳摩擦式提升机

3.05-液压防爆提升机和提升绞车

3.06-带式制动矿用提升绞车

3.07-调度绞车

3.08-回柱绞车

3.09-调车绞车

3.10-耙矿绞车

3.11-启闭风门绞车

3.12-运输绞车

3.13-气动绞车

3.14-凿井绞车

3.15-无极绳绞车

3.16-矿用无极绳调速机械绞车

3.17-耙斗装岩机用绞车

3.18-慢速绞车

3.19-双速多用绞车

3.20-煤矿固定(活动、大坡度可摘挂)抱索器(转弯)架空乘人装置

3.21-带式输送机用张紧绞车

3.22-煤矿用液压葫芦

3.23-防爆钢丝绳电动葫芦

3.24-无极绳连续牵引车

3.25-罐笼

3.26-防坠器

3.27-滚轮罐耳

3.28-箕斗

3.29-楔形绳环(卡)

3.30-螺旋液压调绳器、垫块式首绳悬挂装置

3.31-圆尾绳悬挂装置、扁尾绳悬挂装置

3.32-吊桶

3.33-钩头装置

3.34-张力自动平衡装置

3.35-过卷托罐(过放)缓冲装置

3.36-跑车防护装置(收放绞车)

四、通风降尘及瓦斯抽放类

4.01-矿用局部通风机

4.02-矿用地面通风机

4.03-罗茨鼓风机

4.04-移动式瓦斯抽放泵站

4.05-水环式真空泵

4.06-矿用除尘器、矿用除尘风机

4.07-锚喷降尘器、高压喷射降尘器、放炮喷雾控制装置

4.08-水射流除尘装置、风水射流除尘装置

4.09-二次负压降尘器(或装置)

4.10-液压支架自动喷雾控制阀

4.11-液压支架自动喷雾控制装置

4.12-带式输送机洒水装置

五、运输类

5.01-带式输送机

5.02-转载带式输送机

5.03-托辊

5.04-逆止器

5.05-制动器

5.06-电动滚筒

5.07-刮板输送机、顺槽用刮板转载机、破碎机

5.08-减速器

5.09-摩擦偶合器

5.10-调速型、限矩型液力偶合器(含易熔塞、易爆塞)

5.11-矿用高强度圆环链、矿用高强度紧凑链、矿用圆环链用开口式连接环、矿用圆环链用扁平接链环、中心单链刮板输送机蛙型链接头

5.12-蓄电池电机车

5.13-架线式电机车

5.14-带(链)式给料机

5.15-往复式给料机

5.16-振动式给料机

5.17-带式输送机用液压张紧装置

5.18-带式输送机用液压卷带装置

5.19-带式输送机用断带保护装置(抓捕器)

5.20-带式输送机用液粘软起动装置

5.21-梭车

5.22-梭式矿车

5.23-电力液压推动器

5.24-矿车

5.25-连接链、连接插销

5.26-斜井人车

5.27-平巷人车

5.28-清仓机

5.29-装煤机

5.30-煤矿用挖掘式装载机

5.31-煤矿用立爪装载机

5.32-煤矿用侧卸装岩机

5.33-铲斗装岩机

5.34-矿用离心偶合器摩擦块

5.35-防爆柴油机无轨胶轮车

5.36-防爆柴油机钢轮机车

5.37-防爆柴油机胶套轮、齿轨卡轨车

5.38-防爆柴油机钢轮、齿轨机车

5.39-防爆铲运机

5.40-轮胎式防爆装载机

5.41-防爆柴油机单轨吊机车

5.42-防爆蓄电池单轨吊机车

5.43-钢丝绳牵引单轨吊车

5.44-钢丝绳牵引卡轨车

5.45-无极绳连续牵引车

5.46-防爆叉车

5.47-防爆挖掘装载机(防爆柴油机驱动)

5.48-煤矿用立爪装载机(防爆柴油机驱动)

5.49-地下铲运机(非防爆)

5.50-地下运矿车(非防爆)

5.51-地下服务车(非防爆)

六、凿岩类

6.01-气动锚杆钻机

6.02-液压锚杆钻机

6.03-气动钻机

6.04-液压回转钻机

6.05-乳化液钻机

6.06-电动钻机、岩石电钻

6.07-煤矿用坑道钻机、安全钻机

6.08-反井钻机

6.09-气腿式凿岩机、气镐、气铲

6.10-液压凿岩机、冲击器

6.11-液压钻车

6.12-张拉机具、拉力计、测力计

6.13-混凝土喷射机

6.14-混凝土输送机(泵)

6.15-空气压缩机

6.16-制冷装置

七、支护类

7.01-液压支架

7.02-悬(滑)移顶梁液压支架

7.03-液压支架立柱

7.04-液压支架千斤顶

7.05-矿用单体液压支柱

7.06-悬(滑)移顶梁液压支架支柱

7.07-切顶支柱

7.08-金属顶梁

7.09-安全阀

7.10-单向阀

7.11-换向阀

7.12-截止阀

7.13-三用阀

7.14-液压支架软管

7.15-乳化液泵

7.16-矿用液压推溜器

7.17-乳化液泵站、喷雾泵站

7.18-单体液压支柱注液枪

八、机械仪表类

8.01-矿用气体检测管类

8.02-检测管用气体采样器(含蛇腹型)

8.03-机械风速表

8.04-矿用机械压力表

8.05-钻孔瓦斯涌出初速度测定仪类

九、防灭火装备

9.01-煤矿用高倍数泡沫灭火装置

9.02-煤矿用燃油惰气发生装置

9.03-二氧化碳发生器

9.04-矿用制氮装置

9.05-矿用移动式防灭火注浆装置

9.06-灭火液压泵

9.07-煤矿用燃油惰气泡沫发生装置

十、矿用钢丝绳

十一、锚杆(索)类

非金属制品(含矿用电缆、难燃介质类产品)

一、非金属制品

1.01-煤矿用阻燃输送带

1.02-输送带整体带芯

1.03-风筒涂覆布

1.04-正(负)压风筒

1.05-隔爆水袋涂覆布

1.06-隔爆水袋

1.07-隔爆水槽

1.08-煤矿井下用塑料编织袋

1.09-假顶、假顶带与护帮网及编织布

1.10-管材

1.11-束管

1.12-塑料溜槽

1.13-采煤机用电缆夹板

1.14-带式输送机滚筒用橡胶包覆层

1.15-梯子间等玻璃钢材料

1.16-橡胶封孔器

1.17-局部通风机用塑料叶轮

1.18-单体液压支柱柱鞋

二、矿用电缆

三、难燃介质类

煤安认证流程程序

一、首次申办

安全标志产品生产企业申办安全标志,需经申请填写申请书、初审和合格登记、评审和发证几个步骤。

矿用隔爆型低压电缆接线盒「10kv电缆中间接头防爆盒」

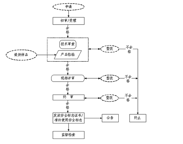
首次申办安全标志程序流程图


1、申请

(1)申请安全标志的生产单位必须具备以下条件:

①有工商行政管理部门核发的营业执照;

②有与生产矿用产品相适应的注册资金、生产规模、经营场所、技术力量;

③主要管理者应了解煤矿安全相关法规;

④有保证产品质量合格的生产设备;

⑤有满足产品安全性能要求的检验与测试手段:

⑥生产工艺先进、合理、可靠;

⑦有完善、有效的质量保证体系;

⑧具备成品生产(组装)与出厂检验条件;

⑨其他有关条件。

(2)申请安全标志的产品必须符合如下条件:

①满足煤矿安全生产要求,符合现行国家安全标准、行业安全标准和《煤矿安全规程》;

②有正确、完整的技术文件;

③采用新材料、新技术、新工艺生产的新产品,应当有省部级安全生产监督(监察)机构认可的鉴定或评审意见;

④其他有关条件。

(3)申请安全标志的矿用产品生产单位,应按规定填写《安全标志申请书》一式两份,并向认证机构提交以下材料:

①营业执照复印件,并加盖申请单位公章;

②产品生产标准(技术条件)、产品图纸、工艺流程图等技术文件;

③产品照片;

(4)其他有关资料。

2、初审

认证机构自接到申请材料之日起10日内完成初审;符合要求的,向申请单位发出受理通知书。

3、评审

认证机构对通过初审的产品进行技术审查、现场评审及产品抽样与检验工作:

(1)技术审查:组织安全标志评审人员对申请安全标志的矿用产品的标准、图纸等技术文件进行审查,提出技术审查报告。

(2)现场评审:组织安全标志评审人员对申请单位的资格、技术力量、生产设备和检验手段等生产条件进行现场评审,提出现场评审报告。

(3)产品的抽样与检验:委托经国家煤矿安全监察局授权的检验机构,对矿用产品进行抽样检验,提出检验报告。

认证机构在下发受理通知书后45个工作日内,组织完成技术审查、现场评审和产品检验工作。认证机构在初审、技术审查、现场评审和产品检验的基础上,对申请安全标志的矿用产品作出综合评审。

4、发证

认证机构对终审合格的产品,发放《安全标志证书》,准许在其产品和包装上使用由国家煤矿安全监察局统一规定的《安全标志标识》;向生产单位所在地的省级煤矿安全监察机构(未设省级煤矿安全监察机构的,向省、自治区、直辖市人民政府指定的部门)和国家煤矿安全监察局分别备案,由国家煤矿安全监察局予以公告。

申请矿用产品安全标志的单位,按国家规定缴纳评审费用。

煤矿用产品安全标志的有效期,依据产品标准和管理要求,一般为2年到5年。

二、变更程序

安全标志有效期内的产品,其安全标志持证单位(以下简称持证人)的工商注册信息、生产条件或技术文件等发生变化,需要变更安全标志时,执行本程序。

1.申请

持证人应向安标国家中心提交变更产品安全标志申请,递交申请材料。

2.初审、受理

安标国家中心对持证人递交的申请材料进行初审,符合要求的,对变更情况进行评估,确定申办方案,与持证人签订申办合同,予以受理。

3.技术审查

对需进行技术审查的,安标国家中心组织实施与变更相关的差异性技术审查。

4.现场评审

对需进行现场评审的,安标国家中心组织评审组进行现场检查和考核。

5.产品检验

对需进行检验的产品,安标国家中心委托国家安全监管总局授权的检测检验机构进行与变更相关的差异性检验。

6.终审、变更安全标志证书

安标国家中心对技术审查、产品检验或现场评审结果进行综合评价。合格的,换发安全标志证书,证书有效期不变;不合格的终止申办。

[附注]

产品取得安全标志后,相关国家标准或行业标准被修订、代替且修订内容涉及重要安全性能时,安标国家中心制定贯标方案并组织实施。

三、延续程序

取得安全标志的产品,其安全标志有效期届满需要延续,且产品技术文件未发生变化的,执行本程序。

1.申请

持证人应在其产品安全标志有效期届满前3~6个月,向安标国家中心提出产品延续安全标志申请,递交申请材料。

2.初审、受理

安标国家中心对持证人递交的申请材料进行初审,符合要求的,与持证人签订申办合同,予以受理。

3.技术审查

安标国家中心对产品采用或主要引用的国家标准、行业标准的有效性、符合性进行审查。

4.现场评审

安标国家中心组织评审组对申请延续安全标志的产品及其持证人进行现场评审。

5.延续检验

安标国家中心组织实施对申请延续产品进行抽样,委托国家安全监管总局授权的检测检验机构进行检验。

大型设备因故不能按时完成抽样检验的,可先行延续安全标志,待在规定时间内具备抽样检验条件后,实施相关工作。

6.终审、延续安全标志证书

安标国家中心对技术审查、现场评审和延续检验结果进行综合评价。合格的,换发安全标志证书,并予以公告;不合格的终止申办。

7.监督检查

对取得安全标志的产品及其持证人进行监督检查。

矿用隔爆型低压电缆接线盒「10kv电缆中间接头防爆盒」

新亨通电线电缆有限公司 版权所有 © 2008-2025 Inc.  网站地图 电缆制造 Cable 电缆批发 电缆直销 电缆 广告设计